2017年上海房价走势图 上海房价暴涨的6个残酷真相
的有关信息介绍如下:你打算在上海买房吗?相信很多消费者都在默默的关注2017年上海房价走势图。据了解,上海市民表示一直在看房,但是想买却买不到。有市民表示,在淮海路看中的房子定价为400万,3天内从400万涨至430万,目前仍不卖,房东要等下周过后再定价。而一些学区房的房价,一年内涨了100万,比过去几年都翻了一倍不止,豪宅价格也是直线上涨的。下面我们就一起来分析下2017年上海房价走势图的走势。
2017年上海房价走势图一

上海房价2016趋势 上海千万豪宅开盘秒光
2月28日,房屋中介王某忙得不可开交。他告诉我们,“现在是最旺的时候,我们门店多,还是有很多人有买卖房子的需求”。
老人欲卖房养老,年轻人“买不到房,不卖房”
当天,记者走访中听到到,上海街头的老人和年轻人谈起了房价。老人们都有这样的计划:打算3月卖房,“月初去挑一个养老院,等月底差不多就卖了”。
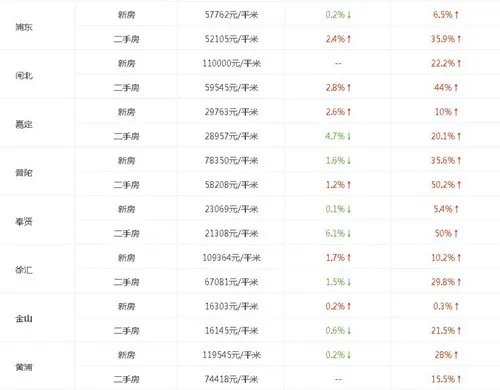
2017年上海房价走势图二

2016年上海房价疯长原因是什么?专业人士分析
业内人士表示:房价快速上升是需求爆发的动力。“房价快升”对楼市有两个效应:一、投资效应二、首付门槛降低效应。有人以小换大、低总价换高总价,房子增值明显。就近三年看,上海人群的薪酬平稳。
2017年上海房价走势图三

上海房价暴涨背后的6个残酷真相
1、上海住房现在的供求结构是怎样的?
06年以来,批准上市182.8万套住宅,销售178.5万套,剩4.3万套,其中包括别墅和商办。按年均销售17.8万套,仅够3个月售量。(楼市去化周期在12个月的标准)
2、上海为什么不能多盖点房子?
因上海土地不足,可建面积1.42亿㎡,平均1420万㎡/年,按年销售17.8万套,套均80㎡,刚需1420万㎡。显而易见,供不应求。
3、上海有多少住房需求?
上海新婚11万/年,离婚7万,再婚3.8万。2000-2010年,年均新增人口达64.2万人,近4年新增30.7万人,住房需要10万套/年吧!两项相加就要20多万套,只卖了17.8万套,因供应不足、房价太高,还有限购等因素。
4、上海房价一直在涨吗?
上海房价一直处于上涨趋势,去年12月均价达2.7万元/㎡,比前年上涨了28.5%。房价上涨的关键是地价,均价1万元/㎡以上,相比13年涨了54%。
2017年上海房价走势图四

5、上海地价为什么那么高?
上海缺少建设用地。现已用3124㎡公里,只剩61㎡公里。减少了一大半,剩下的用于道路、工业、商业等。达到61平方公里,上海不再有新土地供应,显然成本会更高。
6、上海真的没有土地吗?
上海农用占地49.8%,总面积有3589平方公里,与政府缓解大城市病有关,郊区土地受到了控制。
上海豪宅也涨吗?
去年,上海出现31块地王,地价高于3.4万元/㎡,溢价率高46%,豪宅间接推高了房价。
编辑总结:以上就是2017年上海房价走势图 上海房价暴涨的6个残酷真相的相关知识介绍,希望能够帮助到有这方面需求的朋友们!如需了解更多相关资讯,请继续关注我们网站,后续将呈现更多精彩内容。
什么,装修还用自己的钱?!齐家装修分期,超低年利率3.55%起,最高可贷100万。立即申请享受优惠



